
	WFT-202非接觸式輻射高溫計簡介
	上海自動化儀表三廠生產的WFT-202非接觸式輻射高溫計是一種高溫測量儀表,它是根據物體的熱輻射效應原理來測量物體表面溫度的,感溫器的輔助裝置分輕型和重型兩種,它適用于冶金,機械、硅酸鹽及化學工業部門中連續測量各種熔爐、高溫窖、鹽浴池等場合的溫度,以及用于其它不適宜裝置熱電偶的地方,配合適當的顯示儀表,可以指示、記錄自動調節被測溫度。
	WFT-202非接觸式輻射高溫計主要技術參數
	◆量程范圍:700-2000℃
	◆測量精度:±16℃~±20℃
	◆名義距離系數:L/D=20(L=1000mm時,L表示被測物體到感溫器物鏡間的工作距離,D表示物體的有效直徑)
	◆環境溫度:10℃~80℃
	◆相對濕度:不大于85%
	◆感溫器的示值穩定時間:小于4秒
	◆執行標準:JB/T2167-1999
	◆感溫器的工作距離:500~2000mm
	輻射高溫計工作原理
	輻射高溫計的測溫原理是受熱物體的溫度愈高,其顏色就愈亮,單色輻射強度也就越大。受熱物體的亮度大小反映了物體的溫度數值。輻射感溫計就是利用物體的熱輻射效應來測量物體溫度的。
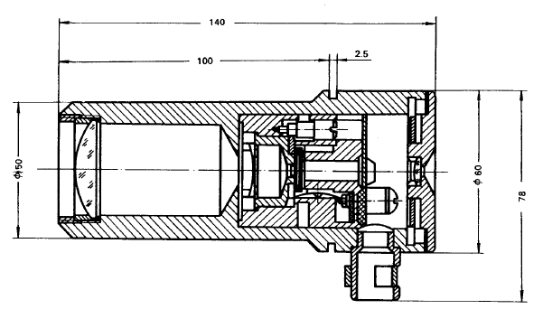
	輻射高溫計外形尺寸:
	◆WFT-202非接觸式輻射高溫計
	


 客服1